
2月24日晚,东阳光(600673)透露,公司正在权略通过刊行股份的花样收购宜昌东数一号投资有限背负公司(以下简称“东数一号”)戒指权,并召募配套资金。本次交游展望组成要紧金钱重组且组成相关交游。本次交游不会导致公司本色戒指东说念主发生变更。
公司股票已于2月24日开市起停牌,并将于2月25日开市起不时停牌。展望累计停牌时辰不逾越10个交游日。
意在收购秦淮数据
东数一号系为收购秦淮数据而成就的主体。
秦淮数据为著明数据中心管事商,经营主体主要包括梧桐数基科技有限公司、河北念念达歌数据科技有限公司、大同秦数信息手艺有限公司、念念达歌(上海)数据有限公司、南通念念达歌数据科技有限公司、张家口念念达柯数据有限公司、上海福来科斯数据科技有限公司、河北秦数信息科技有限公司等。
东数一号通过全资孙公司宜昌东数三号投资有限背负公司(简称“东数三号”)戒指秦淮数据经营主体的100%股权。
公告流露,东阳光这笔收购早有“前奏”。
2025年9月10日,东阳光董事会审议通过《对于与相关方共同增资结伙公司用于收购秦淮数据中国100%股权暨相关交游的议案》,得意公司与控股鼓吹深圳市东阳光实业发展有限公司共同对东数一号进行增资。
同期,东数一号通过东数三号收购秦淮数据中国区业务经营主体100%股权,并由东数三号与交游对方Stack HK Limited、BCPE Stack ZJK Limited、WT Alpha Ltd、吴华鹏、肖蒨等签署了《股权转让公约》。
东阳光于2026年1月17日透露,公司已整个向东数一号出资34.5亿元,践诺罢了本次增资的出资义务。同期,东数三号已按照公约商定,完成向卖方支付整个280亿元的交游价款。
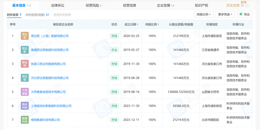
企查查流露,设施2月24日,东数三号已合手有念念达歌(上海)数据有限公司等7家公司100%股权。
设施2月24日东数三号对外投资企业 开头:企查查
而此次东阳光权略收购东数一号戒指权,交游敌手方将为东数一号的鼓吹。企查查流露,东数一号鼓吹以股权投资基金为主,其中包括明星创投契构云锋基金,以及上市公司平潭发展。
东数一号鼓吹 开头:企查查
或达成多种协同效应
东阳光主商业务为电子元器件、高端铝箔、化工新材料、动力材料、液冷科技、具身智能六大板块。设施2月13日收盘,公司总市值达1138亿元。
就公司可能与秦淮数据产生的协同效应,快乐飞艇东阳光曾在透露增资东数一号经营时进行诠释。
东阳光称,增资参鼓吹数一号,主要基于对数据中心行业昔时发展出路的政策研判与价值招供,同期亦是公司拓展业务鸿沟、教诲新增长弧线的过错举措。秦淮数据四肢数据中心领域的头部企业,不仅具备最初的数据中心中枢手艺框架、进修的全人命周期运营处分才智及沉稳的头部客户资源矩阵,更在管事大型互联网企业的经由中酿成了深厚的市集壁垒与品牌溢价才智,奠定了坚实的产业基础。本次交游完成后,两边将在区域布局、手艺、家具、需求四大维度罢了深度协同赋能。
增资参鼓吹数一号对东阳光具有多重政策价值。一方面,助力公司快速切入数据中心这一高景气赛说念,优化金钱和资源配置结构;另一方面,通过与目的公司的产业协同,推动东阳光在液冷手艺、电子元器件、智能机器东说念主等中枢业务领域罢了手艺冲突与市集拓展,进一步强化其在数字经济基础技艺产业链中的中枢竞争力。
笔据中国信通院发布的《中国算力中心管事商分析陈述(2024年)》,秦淮数据中国区业务经营主体原所属的秦淮数据集团在总体限制、才智建造、财务气象等维度中名次全行业第二;在绿色低碳、集约发展等维度中名次全行业第一。
东阳光还曾在回应上交所监监责任函时先容,秦淮数据中国区业务经营主体2024年商业收入为60.48亿元,净利润13.09亿元,净利率约为21.65%。
{jz:field.toptypename/}
四肢对比,东阳光2024年营收121.99亿元,归母净利润3.75亿元。2025年前三季度营收109.7亿元,归母净利润9.06亿元。
这意味着,若秦淮数据中国区业务保合手沉稳盈利才智,则可能在交游完成后对东阳光功绩带来显着提振。
作家:王玉晴
海量资讯、精确解读,尽在新浪财经APP
背负剪辑:宋雅芳